
Magnets Push-Pull project
Some devices/motors ideas...
created on 11-14-98 - JLN Labs - last update on 11-18-98
You will find bellow some MPP's devices ideas, feel free to send me your drawing with some explanation about MPP, I shall be glad to publish them in this page...

Three MPP's devices ideas from Jim Leatherman ( n5qxd@stic.net ) posted on 11-14-98

A flywheel is necessary to store angular momentum and smooth out torque ripple in the same way as a gasoline engine. The flywheel also provides for the attachment of the drum for the rotating magnets.
One MPP motor idea from Dave Squires ( Djsquires@aol.com ) posted on 11-15-98
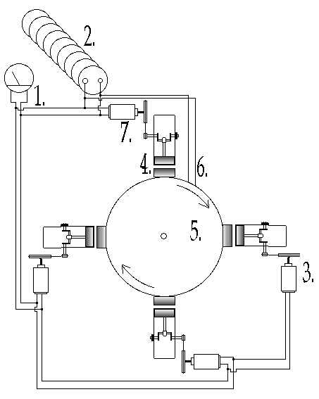
One MPP motor idea from Isaiah Ritchey ( Mritchey@gervais.com ) posted on 11-18-98

Here is my current design. While the main wheel
revolves it would continually charge either batteries or
capacitors, or both. While charging it would give enough power to
the motor to make it spin.
#1.Optional Voltmeter.
#2.Capacitor or battery banks.
#3.Belt drive.
#4.Magnet Piston's magnets.
#5.Revolving Wheel.
#6.Wires to power the motor that controls the drive wheel.
#7.High efficiency generator.
From Isaiah Ritchey
email Mritchey@gervais.com
If you need more informations or if you have any suggestions send me your Feedback
Email
: JNaudin509@aol.com
Return to the Quantum Electrodynamics page